测试环境:Linux系统CentOS7.6、宝塔面板、Nginx、PHP7.4、MySQL5.7,运行目录public,伪静态thinkphp,建议开启SSL
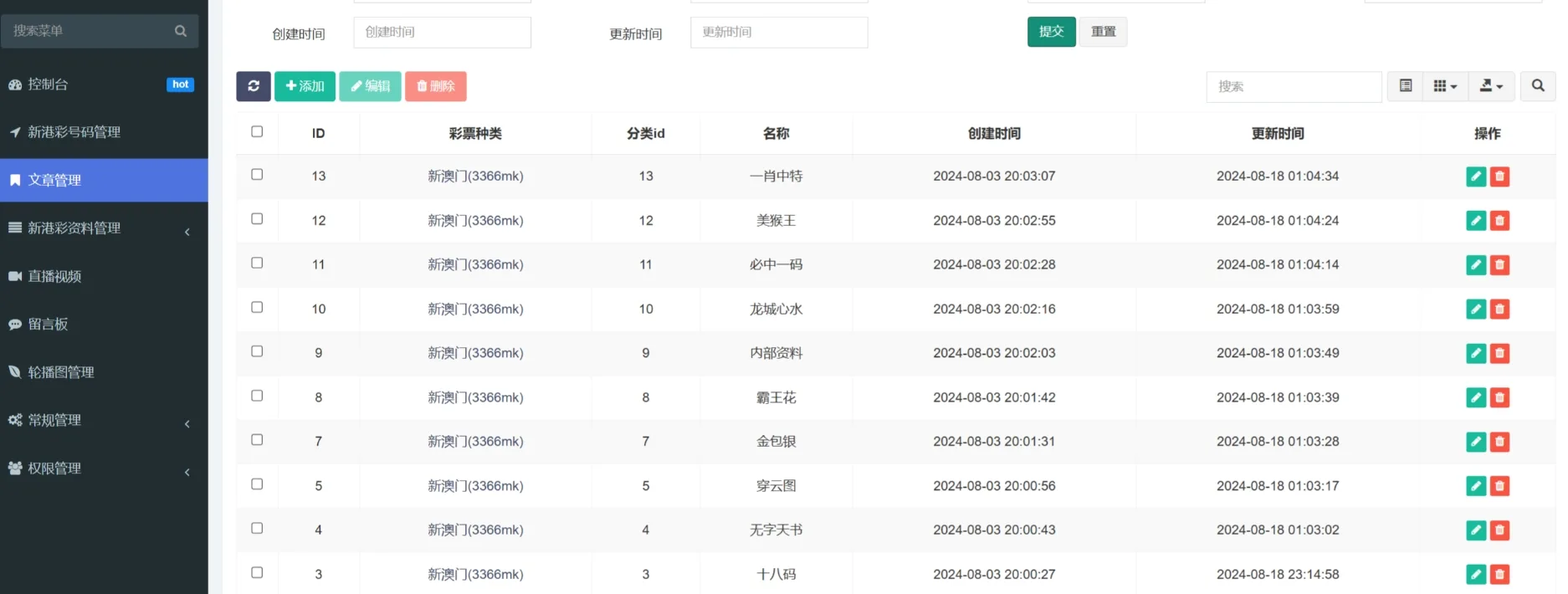
前端是uniapp编译后的,在 public/h5 这个文件夹,后端是fastadmin框架
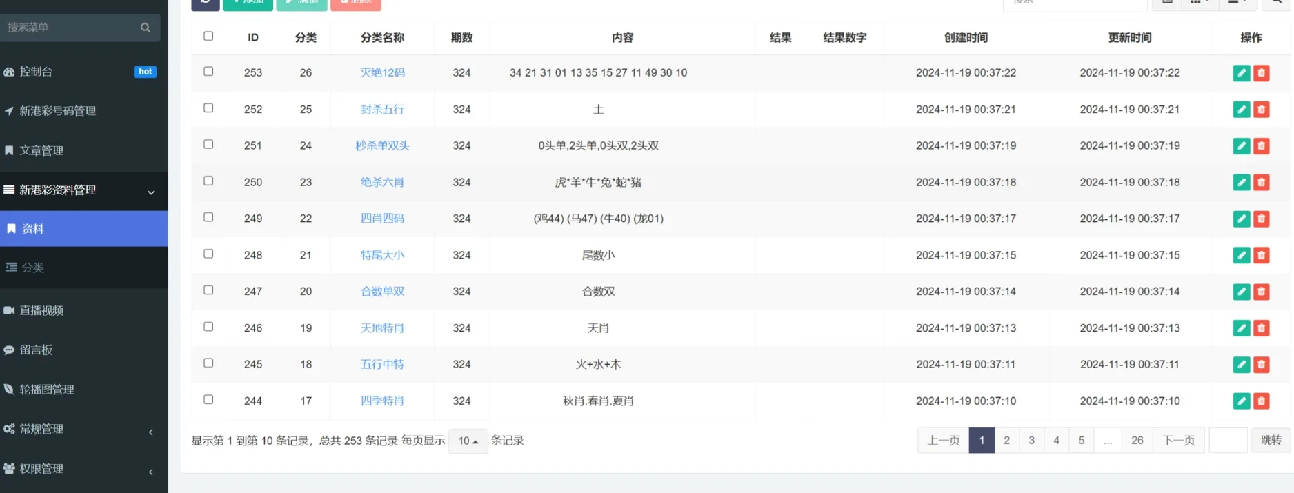
由于是编译后的,就没有去仔细研究,但是修复了新港彩(私彩)的开奖采集、首页数据显示,没有接图库资料,可以去谷歌找api自己写,不过有点小贵
前端很简洁,就首页显示、开奖历史,没有其他的页面了
后台倒是显示有很多彩种,前端只有一个,编译后的没办法去修改,后台可以修改开奖、上传图库,感觉前端是阉割版

